创新型超级节能机电门锁系统的开发
黄旭东
摘要:本文介绍了机电门锁系统的重要评论。为了挑战磁性锁定,电磁阀现在成为自动门锁的优选仪器,因为它们可以节省高达50%以上的能量。市场需求显示,失败的安全和失败安全模式现在是重中之重。锁的故障安全模式描述了一种模式,其中当锁定电源或关闭故障时,门可以被门锁打开。相反,故障安全模式描述了当锁的电源关闭或故障时门不能被门把手打开的模式。在此分析和揭示了近期发展的十种机电门锁。除此之外,在节能,性能,质量和效率方面,提出了一种新的创新解决方案。
关键词:机电门锁;电磁锁;故障安全
一、机电门锁介绍
图1所示的设计与本文相关,故障安全电致动器尤其涉及改进的致动器。螺线管是主要电气部件,涉及致动柱塞用于锁定目的。在螺线管断电的情况下,螺线管由弹簧致动到非活动位置,并且当产生用于补充弹簧作用的磁力时将其并入作为故障安全特征,并且确保机构到非活动位置的运动。这种锁定设计显示了螺线管功能和弹簧反应之间的集成。弹簧用螺栓操作,当螺栓被致动(螺线管通电)到解锁位置时被压缩,并利用螺栓解锁位置。设计还包括两个磁体安装在它们各自的位置,如极面对面,其目的是确保螺栓独立地反应,以在弹簧失效的情况下移动螺栓解锁位置。从机械设计的角度来看,门没有自动起作用。门需要用户指示门打开和锁定,因此这表明门不提供节能或为用户提供方便,尽管提供了补救弹簧动作的故障安全功能。

图1 电磁阀驱动装置的故障安全装置
图2包括安装在具有用于接收滑动螺栓的孔的门上的螺栓板。螺线管是用于致动螺栓以锁定门并接合闩锁中的孔的电气装置。这种类型的锁包括可以安装在门上的闩锁板,其具有带有用于接收锁定螺栓的开口的闩锁舌。安装在该块中的孔内的螺栓有意地与闩锁的舌部中的开口接合。锁定件由接合位置的压缩弹簧装载。螺线管柱塞还通过压缩弹簧加载并连接到顶置电动开门器的电动机的电源。在该特定设计中,当电动机通电以打开门时,螺线管也将被通电以使闩锁舌片与螺栓脱离接触,因此功率将用于操作电动机并且在门打开时保持电磁线圈行程。

图2 机电门锁系统
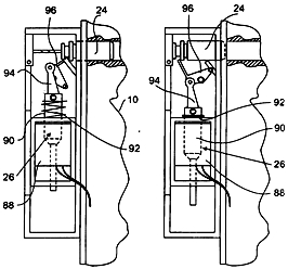
图3示出了当门从外部打开时,电磁线圈有意地用于防止罢工的打开。这个锁由死螺栓,死螺栓保持器组成,其拉入到位。电子部件存在螺栓传感器,接收器开启传感器,防打开传感器,其功能是将信号触发并传输到电子访问系统。机械仪器由执行器组成,它是步进电机,蜗轮和螺丝,安装在与传感器同侧的接收器内侧。蜗轮和螺丝将执行器的旋转运动转移到直线运动。该设计显示了螺线管在锁定状态下的应用。电磁阀具有两个稳定的位置,一个打开位置,其中螺线管的柱塞由螺线管的磁场和闭合位置保持,同时螺线管的柱塞由弹簧保持。可以使用机电控制的锁定和螺栓连接方法来实现螺线管的功能,当系统由电池供电时,螺线管是优选的方法。当罢工处于关闭位置时,螺线管接收来自微控制器的信号,并且销移动到其关闭位置,将销插入到打孔中。

图3 通用机电打击锁定系统
参考图4揭示了通过反映其功能强调装配方式的机电门设计的类型。该锁提供了从门的外侧隐藏的机构。由于这种情况,这种类型的锁由机电部件和位于门板内的隐藏位置的电子锁控制单元组成。可以通过将预编码的卡与隐藏的电子锁定控制单元相互作用来打开锁定,该位置位于已知的授权人员的位置。机电部件由死栓和螺线管组成,其在门打开位置和门锁定位置之间提供锁舌的响应运动。图4中的螺线管的目的是在死锁(锁闭和锁定位置)之间执行运动。门锁的锁舌通过铰接连接机构与螺线管柱塞连接,该连接机构由枢轴连接到杠杆上。连杆的臂被插入形成在螺栓的尾部上的环形槽,该环形槽可以沿着X轴方向滑动,以进入插入门板的引导套筒并与插销同轴布置。电子锁控制单元被设计成通过与预编码卡的电磁耦合来接收编码数据。

图4 具有提高安全等级的电磁锁定机构的门
机械设计方法的差异如图5在锁定状态下允许螺线管弹簧压缩或膨胀的机械仪器的设计在节能方面显示出不同的结果。弹簧的设计位置可以专用螺线管来选择性地激活锁定或解锁。其中采用两个单元螺线管来操作锁。该系统使用两个螺线管进行操作,这两个螺线管连接到执行锁定和解锁位置的扳手。锁定罢工是一种偏向于以平常方式关闭的弹簧。门锁提供两种方式,这些模式是故障安全模式。该锁定系统利用螺线管将止动器保持在两个位置中的一个位置。为了执行解锁位置,第一螺线管将被激励到形成在肘杆表面上的凸起垫。第二螺线管的激活旨在执行锁定位置。在激活期间,第二螺线管将柱塞驱动到开关的下表面。该设计显示了安装或悬挂在门框中的锁定系统。因此,这些锁不能安装在玻璃门上。因此,这些发现成为可用性方法的缺点。事实上,通过使用两个螺线管,发现机械仪器未完全优化,因为在锁定操作期间,一个螺线管将被激活。

图5电磁操作锁闩
2008年,Syed Sabinal等人通过行车特性进行了增强螺线管线性运动能力的研究。本研究通过定义行程长度和选择柱塞端的形状来关注电磁阀性能。分析如图6所示。图6示出了与显示的较长行程长度相比,螺线管可以在较短的行程长度上最初产生高能量的能量。

图6 电磁力行程曲线
二、建议创新能源节约门锁系统
所提出的创新SES-Lock具有更好的安全性,效率和节能特性的优势。该系统旨在克服专利文献和已发表文章中所有审查的机电锁设计的现有缺点。SES-Lock是一种节能锁定系统,只需要五个组件(闩锁组件),以减少材料和制造成本;尽量减少机械卡住或故障的风险。该系统还嵌有一个管理键,以确保在激活器故障或电源故障的情况下可以照常操作锁定。该功能非常重要,迄今为止在电动机械锁定系统领域尚无其他有能力的设计。
闩锁是以通常的方式偏向锁定位置的弹簧。弹簧连接在闩锁和螺线管柱塞之间。图7示出了关于弹簧如何不通过消耗电而推动闩锁的建议设计功能。这种设计功能可以称为故障安全系统,因为这种类型的锁定在系统故障或电源故障时保持锁定状态。该设计表明,由于不经常使用的电磁铁,操作需要更少的电力。只有当用户想要打开门时,电磁阀才会被激活,这意味着当弹簧被压缩时,螺线管将拉动活塞以打开闩锁。螺线管将握住柱塞3至4秒钟,如电子接入系统所设置。

图15 SES-Lock
系统中嵌入的管理密钥的目的是覆盖系统。这些设计间接地执行故障安全模式功能。 因此,在机电锁的简单仪器中组合失效安全无误,确保达到安全,高效,节能的目的。
三、结论
从相关文献的批判性回顾中,研究每个系统的优势及其各自的设计功能。因此,提出了配备讨论目标的超级节能(SES-Lock),开发出成功的电磁门锁,满足客户的需求,为产品的节能创新做出贡献。
通过使用简单的部件以最小化机械卡住或故障的风险,所提出的电磁门锁可以以最低的生产成本实现和商业化。由于大多数机电锁现在安装在门内,特别是玻璃门安装的限制,发现了机电外壳和支架上的设计。
投稿邮箱:chuanbeiol@163.com 详情请访问川北在线:http://www.guangyuanol.cn/